Back / Tillbaka Home / Hem

Populär Radio nr 10 1954


Radions pionjärer 13

Alexander Meissner
Radioteknikens genombrott kom, då man hittade på att alstra odämpade svängningar med hjälp av elektronröret. Tidigare hade man för detta ändamål använt Poulsens ljusbågssändare eller roterande HF-generatorer av olika typer, främst Alexandersons, Arcos och Goldschmidts. Dessa anordningar var tekniska mästerverk, men mycket dyra och ersattes därför snart nog med rörsändare, som var billigare, lika effektiva och kunde alstra svängningar med betydligt högre frekvens.


Alexander Meissner

Det var flera tekniker som omkring 1910 sysslade med problemet att använda trioden för svängningsalstring : i Amerika triodens uppfinnare Lee de Forest och hans landsmän Armstrong och Langmuir, i England Franklin, i Österrike Strauss och i Tyskland Alexander Meissner. Alexander Meissner är född den 14 september 1883 i Wien. Efter examen i Döblingens gymnasium studerade han elektroteknik vid tekniska högskolan i sin födel-estad och blev därefter (1906) assistent vid dess elektrotekniska institution, där han undervisade i högfrekvensteknik. Året därpå anställdes han vid Telefunken, och därmed började ett omfattande och fruktbärande arbete för radioteknikens utveckling. År 1913 tog han tyskt patent på sin rörgeneratorkoppling. Att man vid dessa försök i första hand intresserade sig för den förstärkning som fås tack vare återkopplingen ser man av ett brittiskt patent från januari 1914 där det sägs, att "genom återkopplingens införande en ansenlig förstärkning i rörets reläverkan uppnåtts". "Men", säges vidare, "samtidigt möjliggör denna återföring av energi en verkan hos reläet, som är fullständigt ny.

Om sålunda ett på dylikt sätt anordnat relä förenas med en elektrisk svängningskrets, så är det möjligt att upprätthålla ett permanent svängningstillstånd därstädes. Särskilt för trådlös telegrafi och telefoni är detta av stor vikt, enär det härigenom blir möjligt att för första gången generera odämpade svängningar, som äga en absolut konstant amplitud."

Därmed var grunden lagd för våra dagars radiosändare. Den första stationen konstruerad av Meissner togs i bruk 1915 för trafik mellan Fürstenbrunn och Seegefeld. Redan året därpå hade Meissner sin första styrkretssändare färdig. I en sådan finnes ett slutsteg, som styres av en obelastad oscillator, vilket ger större frekvenskonstans hos sändareanläggningen. Meissner har även uppfunnit plattspolen, som var speciellt lämpad för sändare, han förbättrade gnistsändarens driftsäkerhet, löste duplextrafikens problem och införde halvvågsantennen för rundradiostationer. Meissner har under årens lopp bidragit med många artiklar i fackpressen, där särskilt hans utredningar av den elektromagnetiska strålningens utbredning väckt uppmärksamhet. Många belöningar och utmärkelser har tilldelats Meissner för hans insatser.


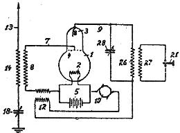
Fig. 1. Ur Meissners patent på
självsvängande sändare.

1925 erhöll han som den förste Heinrich-Hertz-sällskapets guldmedalj och 1929 Abbe-medaljen och Abbe-priset. Samma år blev han som förste europé vald till vicepresident i Institution of Radio Engineers i USA.
(N.E.L.)